Ученые Пермского Политеха разработали устройство для быстрого и качественного обнаружения дефектов на подшипниках

В большинстве современных механизмов, например, электродвигателях, генераторах, нефтяных насосах, колесах железнодорожного транспорта, основная нагрузка приходится на их опорные узлы, которые включают в себя подшипники качения. От качества установленных подшипников зависит срок службы всего механизма, поэтому их состоянию на производстве уделяют особое внимание. В частности, это касается рабочих поверхностей их деталей — тел качения, сепаратора, а также внутренних и внешних колец. С помощью визуального метода контроля на них выявляют мельчайшие производственные дефекты, снижающие прочность в процессе дальнейшей эксплуатации. Ученые Пермского Политеха запатентовали вспомогательное устройство, которое повышает качество такого контроля. Разработка обеспечивает получение стабильного и полного изображения поверхностей подшипника при минимальных затратах и без ручного вмешательства контролера.
На полезную модель получен патент. Исследование проведено в рамках реализации программы стратегического академического лидерства «Приоритет 2030». Работа выполнена на базе Лаборатории трибодиагностики и контактной прочности Передовой инженерной школы ПНИПУ.
Подшипники качения — это основные элементы опор механического оборудования, и их надежность должна быть достаточно высокой для стабильной многолетней работы. Они представляют собой сборку из внешнего и внутреннего кольца, между которых расположены тела качения — шарики или ролики.
При производстве подшипников на первых этапах проверки качества проводят оптический контроль поверхности колец. С помощью увеличительных и спектральных оптических приборов получают их изображения, по которым определяют различные дефекты — следы коррозии, прижоги, трещины и сколы. От эффективности и автоматизации такого процесса зависят своевременность обнаружения всех недостатков и высокая производительность деталей.
Конструкция устройств для проведения оптического контроля должна обеспечивать аккуратное вращение рабочих колец подшипника для получения максимально качественных изображений. Существующие современные приборы не позволяют выполнить эти требования в полной мере без существенных финансовых затрат.
Ученые Пермского Политеха разработали вспомогательное устройство, которое повышает качество оптического контроля деталей подшипников при минимальных производственных затратах.
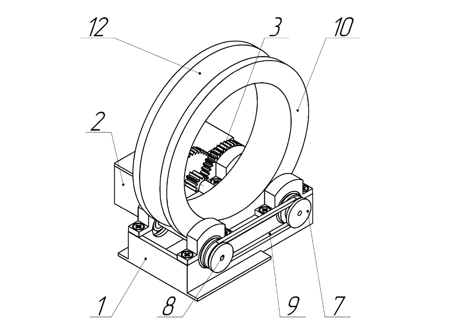
Разработка включает в себя корпус, где установлены привод с электродвигателем и цилиндрический редуктор, а также опорные валы, на которых размещаются сами кольца подшипника. Валы, в свою очередь, связаны ременной передачей (ремнем). Конструкция устройства обеспечивает медленное вращение валов с одинаковой заданной скоростью.
— При вращении изделия осматриваемая поверхность плавно перемещается под окуляром микроскопа без ручного вмешательства контролера. Изображение, получаемое с камеры микроскопа в процессе непрерывного осмотра всей рабочей поверхности детали, передается на экран монитора без рывков и колебаний, что облегчает идентификацию дефектов и исключает вероятность недосмотра участков, на которых они могут присутствовать, — объясняет Игорь Судаков, инженер научно-исследовательской лаборатории трибодиагностики и контактной прочности ПНИПУ.
Политехники отмечают, что на данный момент устройство используется при проведении входного контроля деталей подшипников, предназначенных для испытаний на контактную усталость. Также оно может быть полезно отделам технического контроля, осуществляющими приемочный, входной, периодический и другие виды контролей деталей подшипников качения.
Разработка ученых Пермского Политеха позволяет ускорить проведение осмотра и установку колец подшипника, снизить трудоемкость и повысить качество оптического контроля за счет получения стабильного изображения в процессе непрерывного осмотра всей рабочей поверхности для обнаружения и идентификации дефектов.