Главное Авторские колонки Вакансии Вопросы
» Материалы по тегу

«энергия»

9 Сентября 2024 ПНИПУ 161840 ПНИПУ 161840
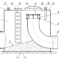
Изобретение ученых Пермского Политеха предотвратит разрушение канализаций
Изобретение ученых Пермского Политеха предотвратит разрушение канализаций
Гаситель энергии жидкости предназначен для уменьшения скорости и потока в определенных системах, например, канализационных. Он предотвращает повреждение инфраструктуры. Ученые ПНИПУ разработали устройство со сроком службы не менее 50 лет и повышенной эффективностью для гашения канализационного потока.
Как ссориться, чтобы не терять энергию?
Возможно, вы замечали, что ссоры в семье снижают уровень энергии, а иногда и мотивацию действовать.Но семья без ссор - это скорее утопия, чем реальность.Поэтому ссориться надо правильно.
НОВАЯ ЭРА НАЧИНАЕТСЯ С КАЖДОГО ИЗ НАС
НОВАЯ ЭРА НАЧИНАЕТСЯ С КАЖДОГО ИЗ НАС
Хочу поделиться своей позицией, возможно, она кому-то откликнется, а, может быть, станет неким «волшебным пенделем» для некого старта.
Energy-management? Что это? ⁣⁣⠀
Energy-management? Что это? ⁣⁣⠀
Если прямо сейчас вы «загуглите», то поймёте, что само понятие energy-management стало популярным на Западе несколько лет назад. У нас же это направление еще не применяется широко. Так что же это такое?
Как расслабиться перед и во время медитации
Чтобы получить наилучший эффект во время медитации, необходимо полностью погрузиться в себя.
23 Октября 2020 Энергия продаж Энергия продаж
Повышая личную энергию повышаю продажи!
Повышая личную энергию повышаю продажи!
Как я не очень успешный продажник стала продавать и обучать этому людей.
25 Августа 2020 Дмитрий Раевский Дмитрий Раевский
Дмитрий Раевский. Энергия принятого решения
Дмитрий Раевский. Энергия принятого решения
Дмитрий Раевский эксперт в теме принятия решений и делится секретом в этой статье.
Энергия как основной драйвер руководителя и предпринимателя
Энергия как основной драйвер руководителя и предпринимателя
Мы встречаем людей, которые легко и азартно создают цели и идут к ним. Так же легко и азартно.Но есть люди, которым это удается с огромным трудом.Почему так? И от чего это зависит?
Поднять уровень энергии и радости в жизни можно всего за 3 шага
Поднять уровень энергии и радости в жизни можно всего за 3 шага
Когда человеком движет «хочу», а не «надо», тогда уровень его энергии и радости несравненно становится выше. И только тогда появляются силы на реальное масштабирование бизнеса и достижение глобальных целей.

Spark использует cookie-файлы. С их помощью мы улучшаем работу нашего сайта и ваше взаимодействие с ним.